A eletricidade no avião é utilizada para muitos fins, tais como a ignição e partida dos motores, o acionamento de acessórios como bombas elétricas, trem de pouso, etc. além da iluminação, rádio-comunicação e navegação. Na parte inicial deste capítulo, será dadas as noções elementares sobre eletricidade e magnetismo.

Átomos – Toda matéria é constituída de átomos. O átomo possui um núcleo formado por partículas chamadas prótons e nêutrons. Ao redor do núcleo há uma camada denominada eletrosfera, onde giram outras partículas – os elétrons. O número de prótons é sempre igual ao de elétrons, mas ele é variável. Como exemplo, o átomo de ferro possui 26 prótons e 26 elétrons.

Cargas elétricas – Os prótons possuem uma propriedade elétrica denominada carga positiva, e os elétrons, carga negativa. Duas cargas positivas ou negativas se repelem, mas uma carga negativa e outra positiva se atraem. Esse fato simples é o fundamento básico da eletricidade. Os nêutrons não possuem carga elétrica, e por isso são eletricamente neutros.

Elétrons livres – Os elétrons giram em diversas órbitas ao redor do núcleo. Em materiais metálicos como o cobre, alumínio, etc. Os elétrons da órbita mais externa podem passar de um átomo ao outro, e por isso são denominados elétrons livres. Quando os elétrons livres movimentam-se ao longo de um fio, dizemos que há uma corrente elétrica nesse fio. E os materiais que permitem a passagem da corrente elétrica são denominados materiais condutores.

Força eletromotriz (FEM) – No terminal positivo de uma pilha há excesso de prótons, e por isso dizemos que esse terminal possui potencial elevado. No terminal negativo há excesso de elétrons, e temos um potencial baixo. Entre os dois terminais, há uma força eletromotriz (FEM), que é mais conhecida em linguagem técnica como diferença de potencial, voltagem ou tensão. A FEM é a tendência dos elétrons livres serem repelidos do terminal negativo e atraídos para o terminal positivo (os prótons possuem tendência contrária, mas não formam corrente elétrica porque não são livres). A tensão é medida em volts (V), através de aparelhos denominados voltímetros. Assim, uma pilha fornece 1,5 V; uma bateria de automóvel, 12 V e uma nuvem eletrizada, milhões de volts.

Corrente Elétrica – Uma pilha sozinha não produz corrente elétrica, porque o ar não permite a passagem dos elétrons livres. Porém, se ligarmos os terminais através de fios condutores e uma lâmpada, formar-se-á uma corrente de elétrons livres que são repelidos do terminal negativo e atraídos para o positivo (dentro da pilha, esses elétrons são forçados a se deslocar ao terminal negativo pela energia química). O caminho seguido pela corrente elétrica denomina-se circuito elétrico.

NOTA: Por tradição (um antigo equívoco), ao desenharmos um circuito elétrico indicamos a corrente no sentido do terminal positivo para o negativo.
A corrente elétrica é medida em ampéres, através de amperímetros. Na figura abaixo, o amperímetro mostra que uma determinada lâmpada permite passar uma corrente de 1 A (um ampére) e o motor 3 A. Isso significa que a lâmpada oferece mais resistência à passagem da corrente elétrica.

Lei de Ohm – Resistência elétrica é a resistência que um corpo oferece à passagem da corrente. Ela é medida em Ohms, através do ohmímetro. Um ohm (1Ω) é a resistência que permite passar uma corrente de 1 A quando a tensão é igual a 1 V.
A Lei de Ohm é uma relação matemática que relacional tensão, corrente e resistência

Em resumo, a corrente é igual a tensão dividida pela resistência.
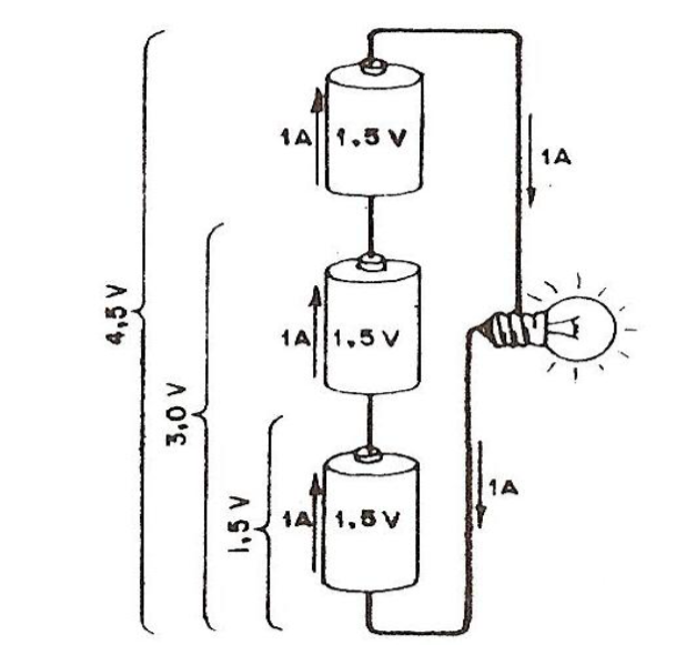
Ligação de fontes – “Fonte” é tudo aquilo que fornece eletricidade, como as pilhas, baterias, etc. As principais formas de ligar duas ou mais fontes entre si são:


Ligação de cargas – “Carga” é tudo aquilo que consome eletricidade, como as lâmpadas, motores, etc. As principais formas de ligar duas ou mais cargas entre si são:


Ligação série – paralelo – Tanto as fontes como as cargas podem ser ligadas em parte em série e parte em paralelo. Todavia, as implicações devem ser examinadas com cuidado, para evitar efeitos inesperados.
Medidas de tensão e corrente num circuito – A tensão deve ser medida com um voltímetro, ligado em paralelo com a fonte ou a carga em questão. A corrente deve ser medida com um amperímetro intercalado em série no circuito (ou seja, é preciso interromper o circuito e inserir o amperímetro, para que a corrente a ser medida passa através do mesmo).

Corrente alternada – A energia elétrica urbana é fornecida sob forma de corrente alternada. Ela recebe esse nome porque sua tensão torna-se alternadamente positiva ou negativa, à razão de 60 variações por segundo (60 hertz).

Magnetismo
É uma propriedade muito conhecida dos ímas, de atrair o ferro. Um íma possui dois pólos magnéticos denominados norte e sul, entre os quais há um campo magnético, cuja existência pode ser comprovada colocando uma folha de papel sobre o íma e espalhando limalha fina de ferro sobre a mesma. Apesar de não existir nada fluindo entre os pólos, convenciona-se que há um fluxo magnético dirigido do pólo norte para o pólo sul (dentro do íma o fluxo continua, porém do sul para o norte). Dois ímas próximos um ao outro interagem de acordo com a lei dos pólos: “pólos iguais se repelem e pólos opostos se atraem”.

Eletromagnetismo – O campo magnético forma-se também ao redor de um fio onde há uma corrente elétrica, no plano perpendicular ao mesmo, conforme mostra a figura. Isso é aproveitado para construir os eletroímãs, que têm a vantagem de poderem ser desligados, o que não é possível com os ímas permanentes.

Aplicações do eletroímã: o relé e o solenoide

Indução eletromagnética – Quando um fio é movimentado dentro de um campo magnético, surge uma força eletromotriz nesse fio. Esse fenômeno chama-se indução eletromagnética e a experiência é conhecida como experiência de Faraday. Uma de suas aplicações é o gerador elétrico, que produz eletricidade através da energia mecânica.

Alternador – É um gerador que produz corrente alternada. A figura mostra esquematicamente um alternador elementar, formado por uma bobina em forma de quadro que fira entre os pólos de um íma. O campo magnético do imã é imutável, mas cada lado do quadro giratório troca de posição com o lado oposto a cada meia-volta, invertendo o sentido da corrente. Por isso a corrente gerada é alternada.

Transformador – É um dispositivo baseado na indução eletromagnética, permitindo alterar uma tensão alternada. A figura ao lado mostra esquematicamente a sua construção.

Transformação de corrente contínua – O transformado não funciona com o corrente contínua porque esta produz um campo magnético fixo, que não induz tensão no enrolamento secundário. Quando se torna necessário aumentar ou diminuir uma tensão contínua, é preciso utilizar os dispositivos ilustrados abaixo:

Sistema elétrico do avião
Os sistemas elétricos dos aviões são muito variados, e por isso não é possível determinar um “tipo padrão” para estudo. Por essa razão, estudaremos separadamente os seus componentes de maior uso em aviões leves.
Baterias – A bateria fornece energia para a partida do motor e alimenta os dispositivos elétricos do avião em caso de emergência, como na parada do motor ou falha do gerador. Os tipos de bateria usados em aviões são a bateria ácida (de chumbo) e a bateria alcalina (de níquel Cádmo).

Uma bateria recebe esse nome porque é formada pela justaposição de diversos acumuladores ou elementos ligados em série, de modo a perfazerem a tensão requerida pelo sistema elétrico (geralmente 12 ou 24 volts).
Dínamo – É um gerador que fornece corrente contínua. É a principal fonte de energia elétrica do avião e carrega a bateria. A figura mostra um dínamo elementar. Podemos observar que é semelhante ao alternador elementar estudado no item 18, mas os anéis coletores são substituídos pelo comutador, que retifica a corrente alternada produzida no induzido, transformando-a em corrente contínua. Neste dínamo elementar, a corrente coletada pelas escovas não é exatamente contínua porque existe apenas uma bobina no induzido. Num dínamo real, porém, existem muitas bobinas (ver o induzido ilustrado ao lado), de modo que as ondulações da corrente diminuem consideravelmente, tornando a corrente praticamente contínua. As bobinas desse induzido são enroladas num núcleo de ferro cilíndrico, porque o ferro oferece melhor passagem ao campo magnético que o ar.

Diodo – O diodo é um dispositivo que permite a passagem da corrente num só sentido. Uma de suas funções é a retificação da corrente alternada. Dessa forma, um alternador ( que é construído para fornecer corrente alternada) pode fornecer corrente contínua, substituindo o dínamo.

Regular de voltagem e de intensidade – A tensão fornecida pelo dínamo varia de acordo com a rotação do motor e a carga solicitada pelo sistema elétrico do avião. Para manter a voltagem constante, usa-se um dispositivo chamado regulador de voltagem (ou de tensão). Além dessa função, os reguladores reais funcionam também como reguladores ou limitadores de intensidade, reduzindo a tensão do dínamo quando a intensidade da corrente ultrapassa um valor crítico.

Disjuntor de corrente reversa – É um disjuntor que impede a corrente da bateria de fluir em direção ao gerador.

Inversor
É um dispositivo que transforma corrente contínua em corrente alternada.
Inversor rotativo – É constituído por um motor de corrente contínua acoplado a um alternador, que fornece a corrente alternada.
Inversor estático – A corrente contínua é transformada em corrente alternada por meios eletrônicos. Não há peças móveis.
Motor elétrico
É um dispositivo que transforma energia elétrica em energia mecânica. Exemplos: o motor do liquidificador, do ventilador, etc. O motor de corrente contínua tem especial interesse, porque encontra aplicação em aviões leves. Construtivamente, é muito semelhante ao dínamo.

O próprio dínamo é um motor elétrico, pois ele pode girar se aplicarmos uma determinada tensão elétrica. O alternador, porém, não funciona como motor CA nem como outro CC (CA e CC: “corrente alternada” e “corrente contínua”, respectivamente).
“starter” – É o motor de partida, acionado pela bateria do avião ou uma bateria externa ligada ao avião através de uma tomada na fuselagem. Funciona como o motor de partida dos automóveis. Através da chave de ignição. Alguns aviões de treinamento não possuem motor de partida. Nesse caso, uma pessoa treinada dará a partida manualmente através da hélice.

Atuador – Já estudamos o atuador hidráulico. O atuador também pode ser elétrico, bastante substituir o cilindro hidráulico por um motor elétrico e um mecanismo de redução. Pode ser usado para acionar flapes, recolher o trem de pouso, etc.

Servo – O servo ou servomecanismo é um atuador aperfeiçoado, capaz de parar em qualquer posição, obedecendo a sinais elétricos enviado por um computador ou outro dispositivo de controle. Ele recebeu o sinal e provoca o deslocamento, retornando ao computador um outro sinal indicando o deslocamento efetuado, até receber uma ordem de parada. Portanto o computador e o servo funcionam respectivamente como o cérebro e o músculo, e são muito usados no piloto automático, que será brevemente estudado em outro capítulo.

Dispositivos de proteção – Quando ocorre curto-circuito num sistema elétrico, a corrente aumenta, provocando forte aquecimento nos fios condutores e componentes, podendo dar início a um incêndio. Para afastar esse risco, o sistema é protegido por fusíveis e disjuntores. Os fusíveis são dispositivos feitos com um fio que se funde a baixa temperatura, interrompendo a corrente quando esta ultrapassa um determinado valor. O disjuntor faz o mesmo, porém a interrupção é feita através de um eletroímã (disjuntor magnético) ou um dispositivo sensível ao calor (disjuntor térmico), e permite a religação depois da falha ser sanada. No avião, o disjuntor (abreviadamente CB – “Circuit Breaker”) é usado para dar proteção individual a vários sistemas e dispositivos. Os disjuntores são agrupados num painel especial, como na figura abaixo.

Circuitos com retorno pela massa – Nos aviões de estrutura metálica são utilizados circuitos com retorno pela massa, ou seja, todos os componentes são alimentados com um só fio (geralmente o dispositivo), e o retorno da corrente é feito pela própria estrutura do avião ou carcaça do motor. Isso simplifica o sistema elétrico e reduz o peso, a complexidade e a possibilidade de falhas.

